1、(山西太原)如图所示,电吉他主要由“拾音器”和“音箱”组成,“拾音器”由磁铁和线圈组成.弹动钢弦,相当于线圈切割磁感线运动,在线圈中就会产生对应的音频电流,音频电流经放大后通过音箱,我们就听到了声音.下列与拾音器工作原理相同的电器设备为( )
A.电磁继电器 B.电铃
C.电动机 D.发电机

答案:D
解析:
由题意可知,拾音器的工作原理就是电磁感应现象,故选发电机。
2、(江苏)在如图所示的实验装置中,用棉线将铜棒ab悬挂于磁铁N、S极之间,铜棒的两端通过导线连接到电流表上.当ab做切割磁感线运动时,能观察到电流表的指针发生偏转,利用这一现象所揭示的原理,可制成的设备是( )
A.电熨斗 B.电动机
C.电磁继电器 D.发电机

答案:D
解析:
利用电磁感应现象可制成发电机。
3、(湖北宜昌)如图是实验室用的手摇发电机,在发电机和小灯泡的电路里串联一个电流表,缓慢转动线圈,观察电流表指针摆动的方向:____________________________.这说明_______________.要使小灯泡变亮,可以采用的方法和措施是:①____________________.②____________________________.

答案:
左右摆动 电流的方向足变化的(或发电机发的电是交流电)
①快速转动线网 ②增强磁场(或增加线圈的匝数)
解析:
缓慢转动线圈时,可观察到电流表指针左右摆动,说明回路里的电流方向是变化的,欲使电流增大可加大转速,增强磁场等。
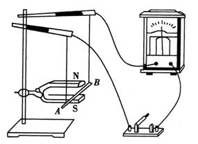
4、图是“探究导体在磁场中运动时产生感应电流的条件”实验装置.闭合开关后,铜棒AB、电流表、开关组成闭合电路.
(1)要使电流表指针发生偏转,选择一种可行的操作;
(2)使铜棒AB上下运动,电流表指针能否发生偏转?
(3)要使电流表指针偏转方向发生改变,可以采取两种方法.

方法一:______________________________________.
方法二:_____________________________________.
(4)感应电流的大小除了与铜棒运动速度有关以外,还___________________有关。
答案:
(1)使铜棒AB向左运动
(2)电流表指针不能发生偏转
(3)方法一:改变磁场方向
方法二:改变铜棒AB的运动方向
(4)铜棒周围磁场强弱
解析:
(1)铜棒AB向左运动时做切割磁感线运动,会产生感应电流.
(2)AB上下运动,不切割磁感线.
(3)产生的感应电流方向与磁场方向和切割磁感线的运动方向有关.
(4)铜棒周围磁场越强,电流也会越大.